三方向防振ゴム
MAF型
耐震ストッパー機能付き防振ゴム
・ホール、ホテル、シネコン等の浮床・浮壁で使用されています
・耐震強度:せん断方向1.0G、圧縮方向0.5G
・構造が簡単で、取付けが容易
・ゴム材質:天然ゴム
・RoHS2指令((EU)2015/863)10物質の規制に適合

特性/寸法表
| 型 式 | 方 向 | 静的ばね定数 (N/mm) |
動的倍率*¹ | 許容荷重 (N) |
寸法 (単位:mm) | ||||||||
|---|---|---|---|---|---|---|---|---|---|---|---|---|---|
| A | B | C | D | F | G | H | K | L*² | |||||
| MAF-70-01 | 圧縮 | 294 | 1.1 | 1470 | 70 | 125 | 105 | 3.2 | 11 | R10 | 27.5 | M10 | 45(125) |
| せん断 | 176 | 735 | |||||||||||
| MAF-70-02 | 圧縮 | 412 | 1.2 | 2010 | 70 | 125 | 105 | 3.2 | 11 | R10 | 27.5 | M10 | 45(125) |
| せん断 | 245 | 1010 | |||||||||||
| MAF-70-03 | 圧縮 | 519 | 1.3 | 2550 | 70 | 125 | 105 | 3.2 | 11 | R10 | 27.5 | M10 | 45(125) |
| せん断 | 304 | 1270 | |||||||||||
| MAF-90-01 | 圧縮 | 784 | 1.1 | 3330 | 90 | 154 | 130 | 4.5 | 13.5 | R12 | 30 | M12 | 45(125) |
| せん断 | 314 | 1670 | |||||||||||
| MAF-90-02 | 圧縮 | 1080 | 1.2 | 4610 | 90 | 154 | 130 | 4.5 | 13.5 | R12 | 30 | M12 | 45(125) |
| せん断 | 431 | 2300 | |||||||||||
| MAF-90-03 | 圧縮 | 1370 | 1.3 | 5880 | 90 | 154 | 130 | 4.5 | 13.5 | R12 | 30 | M12 | 45(125) |
| せん断 | 549 | 2940 | |||||||||||
- 1 動的ばね定数は、静的ばね定数に動的倍率をかけた値になります。
- 2 ボルトの長さは45mmと125mmがあります。ご発注の際には長さの指示をお願いします。
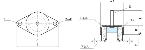
- 【コンパクトな構造】
取付時の占有高さが50㎜と低くおさえられています
- 【耐震強度】
特殊構造の上金具と下金具により、せん断(水平)方向1.0G 圧縮(鉛直)方向0.5Gの耐震強度があります
- 【大きな防振効果】
圧縮方向にもせん断方向にも大きな防振効果があります。 - 【取付容易】
取付箇所にボルトで固定するだけで設置できます
- 浮壁、浮床など防振構造と固定箇所との取り合い部に
- 建築音響用途全般、各種ホール、ホテル、シネコン、スタジオ、フィットネス等の浮床や浮壁で多く使用されています









